
|
Type |
Nominal Torque |
Overrunning Limited Speed |
Dimension In Contour [mm] |
Weight |
|||||||||||
|
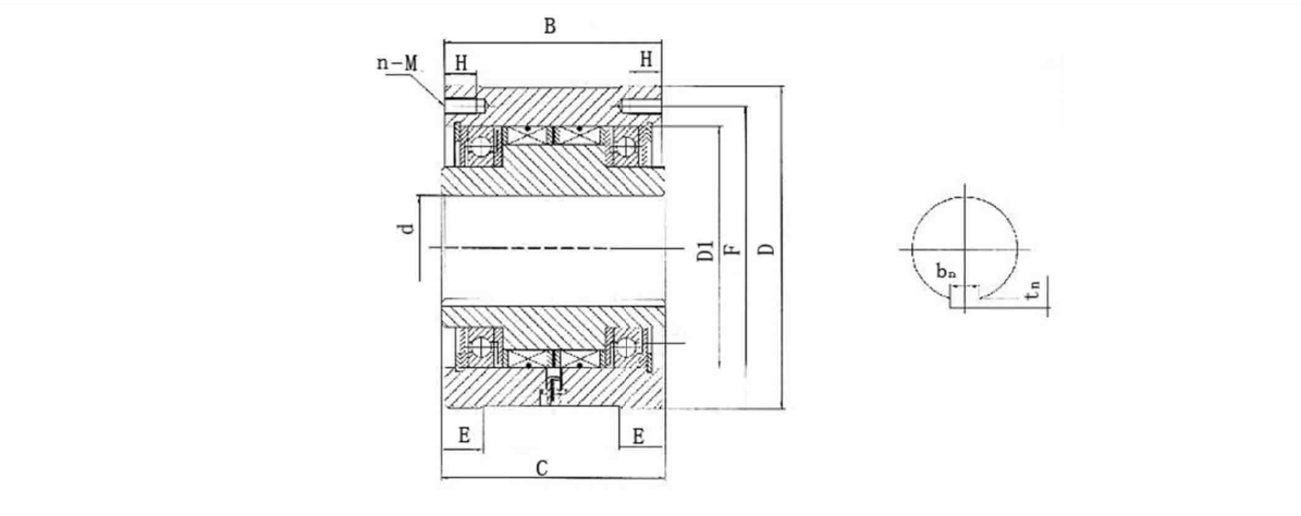
Outer Race Size |
Inner Race Size |
||||||||||||||
|
inner |
outer |
D[h7] |
D1[H7] |
B |
F |
n-M |
E |
H |
d[H7] |
C |
bn×tn |
e |
|||
|
CKZ-B25110 |
404 |
700 |
300 |
110 |
80 |
68 |
95 |
6-M8 |
15 |
20 |
25 |
70 |
10×3.3 |
4.5 |
3.98 |
|
CKZ-B35130 |
825 |
560 |
250 |
130 |
90 |
85 |
100 |
6-M10 |
15 |
25 |
35 |
87 |
10×3.3 |
4.5 |
7.01 |
|
CKZ-B45150 |
1464 |
490 |
200 |
150 |
110 |
90 |
130 |
6-M10 |
20 |
25 |
45 |
92 |
14×3.8 |
4.5 |
9.69 |
|
CKZ-B50165 |
1830 |
420 |
150 |
165 |
120 |
92 |
145 |
6-M12 |
20 |
25 |
50 |
97 |
14×3.8 |
5 |
12.36 |
|
CKZ-B50180 |
2990 |
420 |
150 |
180 |
125 |
106 |
160 |
6-M12 |
20 |
25 |
50 |
108 |
16×3.8 |
5 |
16.51 |
|
CKZ-B60200 |
3494 |
350 |
120 |
200 |
150 |
115 |
180 |
6-M12 |
25 |
25 |
60 |
117 |
20×4.9 |
6 |
22.02 |
|
CKZ-B70240 |
4920 |
350 |
120 |
240 |
170 |
122 |
210 |
6-M14 |
25 |
30 |
70 |
124 |
22×5.4 |
6 |
34.65 |
|
CKZ-B75260 |
5760 |
280 |
100 |
260 |
200 |
130 |
230 |
6-M18 |
25 |
35 |
75 |
138 |
22×5.4 |
8 |
42.38 |
|
CKZ-B80300 |
7500 |
280 |
100 |
300 |
230 |
136 |
265 |
6-M18 |
25 |
35 |
80 |
138 |
22×5.4 |
8 |
57.17 |
|
CKZ-B25100 |
400 |
750 |
350 |
100 |
75 |
80 |
88 |
6-M8 |
10 |
16 |
25 |
82 |
8×3.3 |
4.5 |
2.62 |
|
CKZ-B28105 |
400 |
700 |
300 |
105 |
80 |
68 |
95 |
6-M8 |
15 |
16 |
28 |
70 |
10×3.3 |
4.5 |
2.75 |
|
CKZ-B3090 |
350 |
800 |
380 |
90 |
62 |
49 |
75 |
6-M6 |
10 |
15 |
30 |
50 |
8×2.0 |
4 |
4.86 |
|
CKZ-B3290 |
380 |
800 |
380 |
90 |
65 |
60 |
80 |
8-M6 |
10 |
16 |
32 |
60 |
10×3.7 |
4 |
4.32 |
|
CKZ-B30110 |
404 |
700 |
300 |
110 |
80 |
68 |
95 |
6-M8 |
15 |
16 |
30 |
70 |
10×3.3 |
4.5 |
3.91 |
|
CKZ-B32125 |
1021 |
560 |
250 |
125 |
95 |
90 |
110 |
8-M8 |
15 |
12 |
32 |
92 |
10×3.3 |
4.5 |
6.53 |
|
CKZ-B35115 |
800 |
700 |
300 |
115 |
72 |
78 |
95 |
6-Φ11 |
15 |
35 |
78 |
10×3.3 |
4.5 |
4.63 |
|
|
CKZ-B40125 |
800 |
600 |
300 |
125 |
95 |
76 |
110 |
6-M8 |
15 |
18 |
40 |
80 |
12×3.3 |
4.5 |
5.60 |
|
CKZ-B45190 |
2150 |
380 |
130 |
190 |
130 |
86 |
160 |
4-Φ14 |
20 |
45 |
86 |
14×3.8 |
6 |
17.5 |
|
|
CKZ-B55155 |
1735 |
490 |
200 |
155 |
125 |
100 |
140 |
8-M8 |
20 |
20 |
55 |
102 |
16×4.3 |
5 |
10.96 |
|
CKZ-B55175 |
1800 |
420 |
150 |
175 |
110 |
79 |
155 |
6-M10 |
20 |
15 |
55 |
87 |
16×4.3 |
5 |
14.92 |
|
CKZ-B60180 |
3100 |
420 |
150 |
180 |
140 |
124 |
158 |
8-M10 |
25 |
20 |
60 |
128 |
18×4.4 |
6 |
17.25 |
|
CKZ-B65180 |
3100 |
420 |
150 |
180 |
140 |
122 |
158 |
8-M10 |
25 |
20 |
65 |
124 |
18×4.4 |
6 |
16.68 |
|
CKZ-B80160 |
1830 |
420 |
150 |
180 |
130 |
100 |
145 |
6-M8 |
25 |
20 |
80 |
112 |
22×5.4 |
6 |
11.42 |
